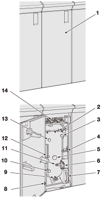
Multi Punch GP-501

No.

Name

Description

1

Multi punch front door

Opens to allow replacement of a die set, or removal of punch waste or mishandled paper.

2

Lever [GP1]

Opens upward for removal of mishandled paper.

3

Knob [GP1]

Turned to allow removal of mishandled paper.

4

Lever [GP2]

Opens upper-rightward for removal of mishandled paper.

5

Knob [GP4]

Turned clockwise for replacement of a die set or removal of mishandled paper.

6

Die set

Punches various types of file holes.

7

Punch scrap box

Withdrawn for removal of waste paper punched out.

8

Power switch

Turns on/off the power of the multi punch.

9

Lever [GP5]

Opens downward for removal of mishandled paper.

10

Knob [GP7]

Turned to allow removal of mishandled paper.

11

Die set blade position indicator

Used to check the position of the die set blade moved by turning Knob [GP4] for replacement of the die set or removal of mishandled paper.

12

Lever [GP6]

Opens upper-leftward for removal of mishandled paper.

13

Knob [GP8]

Turned to allow removal of mishandled paper.

14

Die set rack

Stored with die sets.